Step 17 - I brevetti
Il database e le banche dati dei brevetti mostrano chiaramente di come siano registrati innumerevoli strumenti di rilevazione topografica e loro componenti sia dai primi anni del 900 e di come essi risultino accurati e delineati anche nei particolari.
Eccoli in ordine cronologico
1902 - Strumento per la misura degli angoli - Francis Edwin Hutchins
![]() |
| Fonte Google patents |
1904 – Treppiede – Walter Sabin McKinney
![]() |
Fonte Google patents |
Treppiedi, e in particolare alla costruzione e al modo di assemblare le parti di un supporto pieghevole a tre gambe per un teodolite, una bussola, un telescopio, una macchina fotografica e simili. Tra gli scopi salienti della presente invenzione c'è quello di fornire una costruzione in cui le gambe possono essere attaccate o staccate senza l'uso di viti, dispositivi di bloccaggio o simili, e quando regolate in posizione non possono essere disimpegnate accidentalmente.
1919 – Misurazione angoli direttamente da fotogrammi – Hughershioff Karl Reinhard
![]() |
| Fonte Google patents |
Uno scopo della presente invenzione è quello di fornire un mezzo per determinare l'esatta posizione relativa e l'elevazione, su una mappa, di uno o più punti dell'immagine su una lastra fotografica di un paesaggio. Un altro scopo è quello di realizzare un portapiastre fotografico regolabile posizionato davanti al teodolite in modo tale che la distanza verticale della fotografia dal punto di intersezione degli assi verticale e di inclinazione di detto teodolite possa essere esattamente: uguale alla estensione dell'immagine della fotocamera utilizzata per la ripresa.
1922 – Teodolite – Roux Max
![]() |
| Fonte Google patents |
Abilità nel caso di strumenti di questo tipo è quella di osservare simultaneamente il cerchio di altitudine e il cerchio di azimut, e può registrare i risultati con mezzi meccanici, diciamo, ad esempio, mediante fotografia.
![]() |
Fonte Google patents |
La presente invenzione si riferisce ai teodoliti in cui nel campo visivo di un microscopio da lettura è leggibile il cerchio primitivo orizzontale e che sono dotati di bussola. Nei teodoliti la bussola è stata finora fissata come una bussola a sella sopra l'asse di inclinazione o adattata sotto il telescopio tra i cuscinetti dell'asse di inclinazione. In entrambi i casi la lettura della posizione dell'ago magnetico è più o meno scomoda, in un caso a causa della posizione alta della bussola, nell'altro a causa del cannocchiale posto in alto; inoltre, l'osservatore è tenuto a cambiare ogni volta la sua posizione; secondo la presente invenzione la bussola è unita al cerchio primitivo orizzontale, cioè l'ago magnetico è disposto in modo tale all'interno di questo cerchio che, sul telescopio essendo regolato approssimativamente al meridiano magnetico, simultaneamente. con il cerchio primitivo l'ago magnetico è visibile anche nel campo oculare
1939 – Teodolite – Curtis Veeder
![]() |
| Fonte Google patents |
È risaputo che quanto più tempo ci vuole per completare le osservazioni tanto meno accurati saranno i risultati, in quanto l'accuratezza dell'osservatore è compromessa dalla fatica e lo strumento è soggetto a variazioni da sorgenti esterne, e di conseguenza è molto auspicabile che il lavoro sia completato il più rapidamente possibile. L’ invenzione ha tra i suoi scopi quello di fornire uno strumento migliorato per l'uso nella misurazione di angoli avente nuovi mezzi associati ad esso con cui una o più posizioni del telescopio, sia per quanto riguarda la direzione orizzontale della vista che l'inclinazione dello stesso, e può essere stabilito e ad uno qualsiasi dei quali l'osservatore può restituire il telescopio rapidamente e facilmente a piacimento.
1977 – Strumento e metodo di rilevamento – James Stephen Epstein
![]() |
| Fonte Google patents |
Un tacheometro
utilizza un diodo laser all'arseniuro di gallio in un encoder a distanza di
spostamento di fase, un interpolatore sinusoidale in un encoder di angolo
dell'albero a spostamento di fase, un pool di mercurio in un encoder fuori
livello a due assi con spostamento di fase, una fase condivisa per
decodificatore digitale e un processore digitale , per misurare angoli e
distanze corrette per fuori livello, variazioni di velocità della luce,
rifrazione e curvatura terrestre.
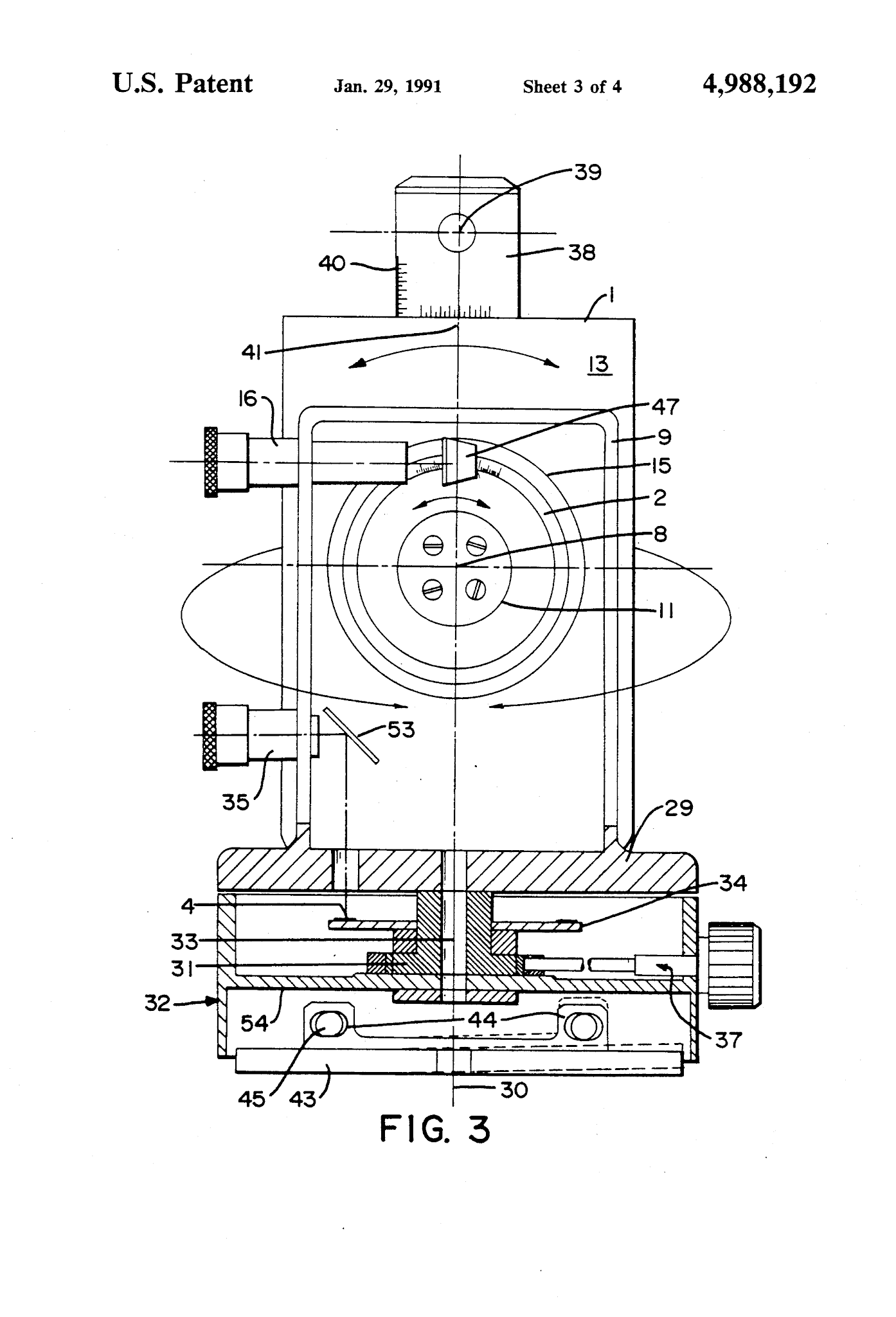
1991 – Teodolite laser – Ronald Knittel
![]() |
| Fonte Google patents |
Il dispositivo comprende un laser supportato in modo mobile orizzontalmente e verticalmente, che è montato in un supporto a forcella in modo da poter essere ruotato di 360 ° attorno a un asse di inclinazione che si estende ad angolo retto rispetto al raggio di uscita del laser e che interseca questo raggio, alla maniera di un teodolite.
2001 – Sistema di visual e register digitale della posizione geografica - Thomas Hedges
![]() |
| Fonte Google patents |
Un sistema di acquisizione della posizione geografica / immagine memorizza le immagini degli oggetti e le coordinate di posizione come dati digitali. Il sistema incorpora un database cartografico con indirizzo geografico e un dispositivo di posizionamento geografico per mettere in relazione la posizione del sistema nel momento in cui l'immagine viene catturata ai dati dell'immagine digitale acquisita e alla mappa geo-indirizzata.
2008 – Calibrazione automatizzata di uno strumento di rilevamento – Christian Greaesser
![]() |
| Fonte Google patents |
L’accuratezza delle misurazioni dipende in parte dalla stabilità meccanica dello strumento geodetico. In particolare, lo strumento effettua misurazioni accurate se i vari assi dello strumento sono perfettamente paralleli o perpendicolari tra loro.
Link Google:
https://patents.google.com












Commenti
Posta un commento